首页大屏
产品详情
规格参数
资料下载
行业应用
首页大屏
河道管理
洪水引进
泄洪模拟
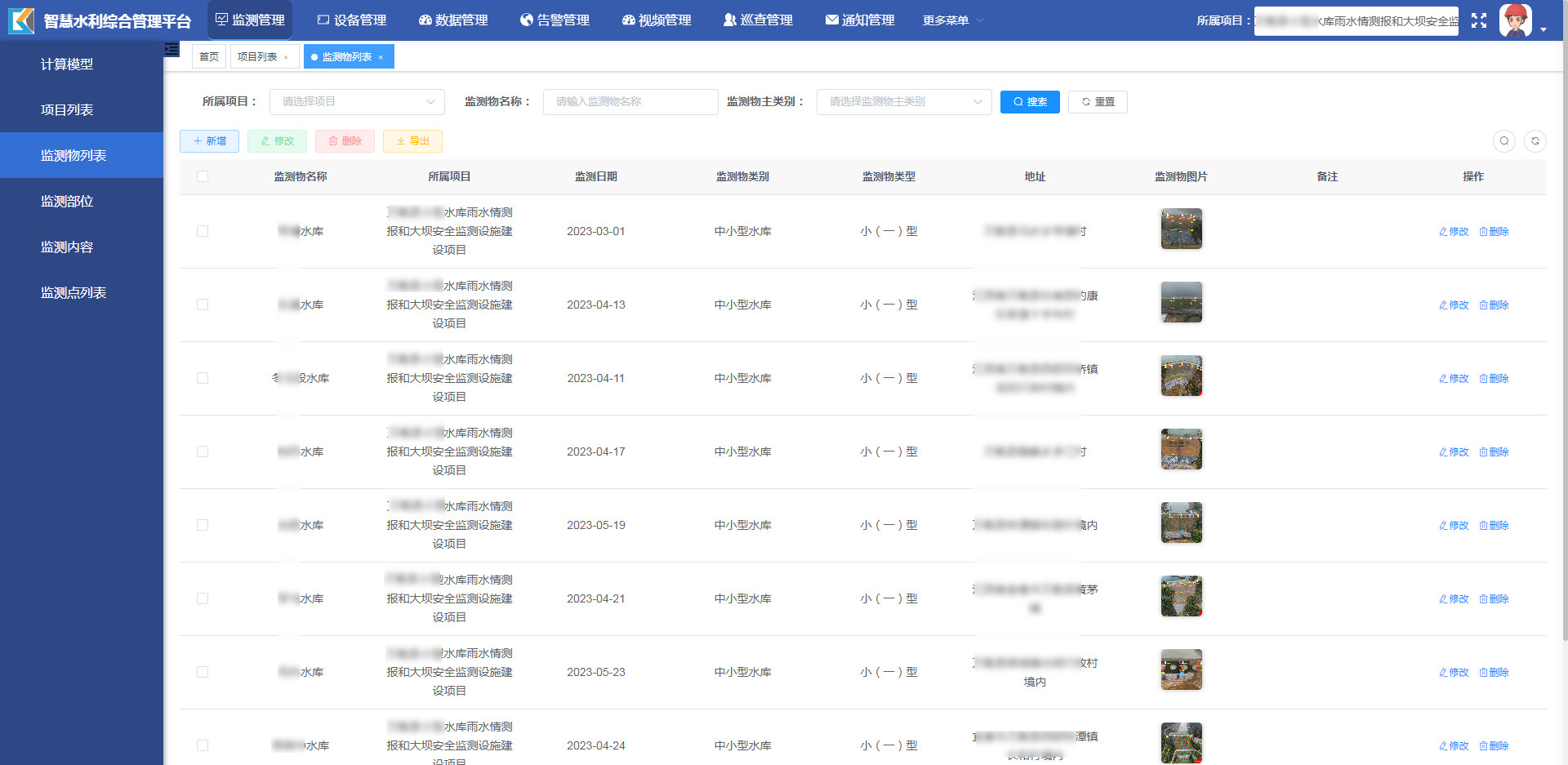
监测物列表
监测点列表
设备列表
视频监控



